舞台灯安装结构全解析,你知道它的背景技术和使用要点吗?
舞台灯安装结构全解析,你知道它的背景技术和使用要点吗?
本技术属于舞台灯,具体涉及一种舞台灯安装结构。背景技术:1、舞台灯光也叫“舞台照明”,简称“灯光”,舞台美术造型手段之一,舞台灯光最基本的功能就是提供照明

谁不想拥有一盏安全可靠的舞台灯光?一旦舞台灯光在表演中出现问题,后果不堪设想!所幸,这盏舞台灯光的安装设计或许能为我们提供稳定的保障。
活动杆与卡槽安装
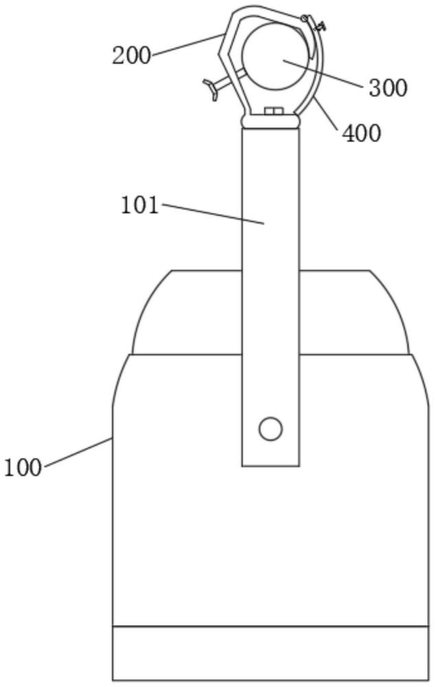
活动杆的构造十分精巧,其一端穿过滑动轨道后延伸至固定槽内。这一环节极为关键,就好比拼图中的那块关键部件。以剧院舞台的搭建为例,当工人安装舞台灯光时,若活动杆能够精准地穿过滑动轨道并进入固定槽,整个连接就会变得牢固,为灯光的稳定使用打下基础。一般情况下,这一步骤需要工人细致操作,以保证活动杆不会出现卡住的情况。
弹簧的作用
活动杆外部的弹簧,它被牢牢地固定在弧形卡板与安装把之间。这弹簧真是个好帮手,在深圳某大型演唱会的舞台搭建过程中,当工作人员移动弧形卡板时,弹簧的伸缩功能起到了缓冲作用,使得操作变得更为灵活,同时有效防止了弧形卡板与安装把之间的直接碰撞。而且,这弹簧还能让弧形卡板在无需外力的情况下,自动保持在合适的位置,随时可以发挥其限位的作用。
定位组件详情
弧形卡板上的定位部件设有限位杆,而限位杆外部则安装了橡胶套。这种设计是有其合理性的,在上海某话剧舞台的安装过程中,橡胶套不仅提升了摩擦力,还提供了防护效果,有效防止了限位杆与其他部件间的磨损。此外,橡胶套质地柔软,在安装孔中插入时,能更好地适应,确保定位部件稳定地发挥定位功能。
限位杆安装
限位杆的一端穿过了弧形卡板中的安装孔,并继续延伸至活动杆内部的嵌槽。这样的安装方法,确保了两者连接的紧密。以北京某舞蹈演出的舞台搭建为例,限位杆正确插入后,舞台灯光装置的稳定性显著增强。它有效地避免了活动杆在移动过程中与弧形卡板之间发生松动,确保了舞台灯光设备的安全使用。
限位机构优势
通过设置限位装置,舞台灯具的安全性得到了显著增强。在广州某音乐节的现场,灯具悬挂在固定杆上后,限位装置确保了灯钩的稳固定位,弧形卡板也有效阻挡了开口部件的开口部分。若非此装置,灯具的晃动可能会使灯钩转动并从固定杆上滑落,从而引发安全隐患,严重时甚至可能干扰演出的顺利进行。而有了它,观众就不用再担心舞台灯突然掉落的问题。
支架与开口件连接
支架和开口件用螺丝紧密相连。这样的连接方法既简便又可靠。以成都某小型演出舞台为例,搭建人员就是用螺丝将它们固定好。在整个演出过程中,支架都稳固地支撑着开口件,保证了舞台灯光安装结构的稳定。此外,螺丝连接在长期使用中,也便于后续的维护和更换。
这种舞台灯光的安装方式确实拥有诸多优点,然而,众人不禁疑问,在极端恶劣的条件下,它是否还能维持原有的稳固性?若你感觉这篇内容对你有所帮助,请不要忘记点赞以及转发。