叠加式舞台总控台:解决现有舞台总控制台诸多问题的新发明
叠加式舞台总控台:解决现有舞台总控制台诸多问题的新发明
本发明涉及舞台用具领域,特别涉及一种叠加式舞台总控台。背景技术:舞台是在剧院中为演员表演提供的平台,舞台往往配合灯光、音响、大屏幕等为观众带来理想的观赏效果

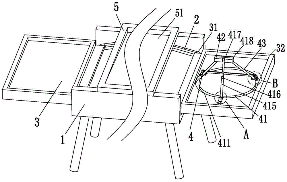
舞台总控台的叠加式设计巧妙地融入了伸缩和辅助部件,这不仅显著增强了总控台的稳定性,还提升了其实用性,接下来我将为大家详细介绍。
伸缩组件结构
伸缩组件中设有与滑槽相配合的滑块,这两个滑块之间装有伸缩板。这样的设计使得伸缩板的移动变得更加便捷。例如,在搭建实际舞台时,可以迅速地根据需求调整伸缩板的位置。在伸缩板底部和放置台内部,还安装了支撑机构,这个机构对于支撑伸缩板至关重要,它保证了伸缩板在使用时的稳定性。
辅助组件构成
伸缩板顶端装有调节装置,该装置与辅助板相接。辅助板两侧可旋转并连接辅助杆,辅助杆底部与辅助滑块联动,同时辅助杆侧面还配备了辅助装置。这种设计使得总控台功能更加多样化,能够满足各种舞台控制需求,例如为放映屏提供合适的安装位置。
滑槽的独特设计
滑槽从中间开始向两边缓缓倾斜,其底部还配备了与滑槽相接的弧形定位槽。这样的设计让滑块在移动过程中能够更加顺畅地定位到指定位置,从而增强了伸缩部件的稳固性。在操作过程中,保证了伸缩板无论是移动还是停止,都能精确地到达预定位置。
放置台与放置板
台上端装有放置板,该板的上部配备了由前至后逐渐下降的放置槽。这样的设计使得物品放置更加便捷,并且物品会自动向较低的一端移动。另外,放置台底部中央设有用于放置配重块的槽位,在需要时,可以加入配重块以提升放置台的稳固性。
支撑机构的作用
支撑机构使得伸缩板在展开时,其重力能被转移到放置台中部的附近。具体来讲,伸缩杆与放置台中部的连接处是受力点,这导致伸缩板的重力作用点向中央移动。这相当于为伸缩板提供了一个稳固的支撑点,从而显著提升了其在展开状态下的稳定性。
辅助机构的优势
放映屏得到了辅助机构的固定位置,并且辅助靠板的设计确保了其放置的平稳性。此外,辅助弹簧和防滑橡胶垫的安装,有效防止了放映屏滑落而造成损坏。在舞台表演过程中,放映屏的稳固摆放至关重要,而辅助机构的存在则为演出的顺利进行提供了坚实的保障。
您认为这种叠加式舞台控制台的设计,对于您进行舞台布置能带来多大便利?别忘了点赞并转发这篇文章!